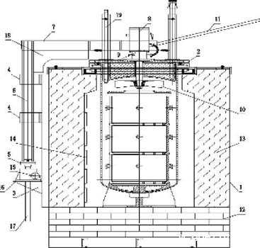
井式碳氮共渗炉由炉壳、炉衬、炉盖升降机构、真空密封风机、马弗罐及加热元件等组成。炉壳为圆形,它由钢板及型钢焊接而成。炉衬是由0.6g/cm3 高强度超轻质微珠真空球耐火砖、硅酸铝超长纤维、膨胀保温粒料等砌筑而成的炉衬结构。真空密封风机装在炉盖上,它可以搅拌马弗罐中的气氛使之成 分均匀,同时使炉温趋于均匀。渗碳炉的炉体外壁下部设有支座,支座正上方的炉体外壁上设有多个轴套,支座上固定有丝杆升降机构,该丝杆升降机构的上部通过压力轴承与升降轴的底端连接,升降轴贯穿多个轴套且与轴套滑动配合,升降轴的轴线与炉体的轴线平行,升降轴的顶端垂直连接有摇臂杆,摇臂杆的另一端与电机壳体固定连接,该电机壳体通过电机支座与炉盖固定连接,电机的输出轴穿过炉盖与风叶固定连接,摇臂杆的末端设有手柄。

上图为井式碳氮共渗炉结构图
井式碳氮共渗炉的炉盖上的三个管子都有水冷套, 以便进入三个管子中的气体快速冷却,马弗罐的作用是维护炉压,保证渗碳或碳氮共渗的正常进行,它由耐热钢制成。碳氮共渗炉配有冷却桶,用来存放处理后的零 件,炉盖处设有砂封槽。
Copyright © 点点taptap手机网页 版权所有 m.yuezigy.com
台车炉,回火炉,退火炉